Samsung запатентовала стилус с камерой и оптическим зумом

Samsung запатентовала стилус с камерой и оптическим зумом

Получаемые снимки можно передавать на смартфон через беспроводную связь

Компания Samsung запатентовала стилус для смартфона со встроенной камерой и системой линз. Благодаря такому расположению в камере стилуса можно реализовать объектив с большой кратностью, а получаемые снимки можно передавать на смартфон через беспроводную связь, сообщает Patently Mobile.

В последние годы средняя толщина смартфонов постоянно уменьшалась и на сегодняшний день многие смартфоны имеют толщину 7–8 миллиметров. Это значительно усложняет проектирование устройства, потому что некоторые компоненты сложно разместить в столь тонком корпусе. В частности, в тонком корпусе сложно разместить камеру, из-за чего производителям пришлось идти на компромиссные с точки зрения дизайна или технически сложные конструкции. К примеру, многие разработчики стали выносить камеру в отдельный модуль, выпирающий над задней поверхностью смартфона. Другие стали создавать альтернативные схемы расположения линз. Например, Oppo недавно представила конструкцию модуля камеры с отражателем, посылающим падающий на объектив свет под углом 90 градусов к системе линз, расположенной не поперек корпуса, а вдоль него. Благодаря этому инженерам удалось реализовать в таком модуле десятикратный оптический зум.

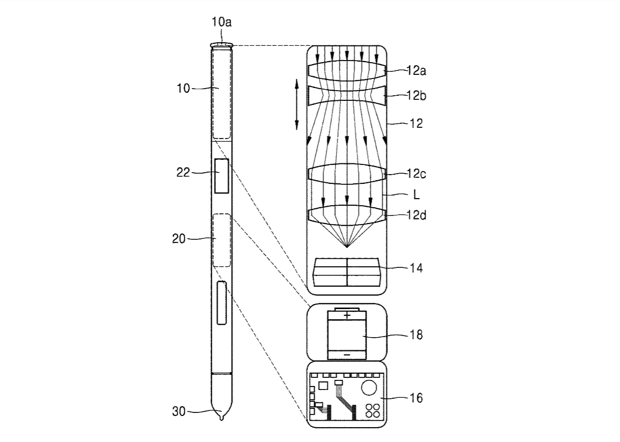
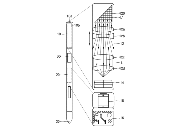
Инженеры Samsung разработали другую концепцию, позволяющую реализовать в смартфоне объектив с большой кратностью, не увеличивая его толщину. Вместо того, чтобы размещать камеру в самом гаджете, разработчики предложили переместить ее в стилус, используемый в некоторых смартфонах, таких как Galaxy Note. В верхней части стилуса авторы предложили размещать объектив, причем они создали две схемы: в одной из них объектив располагается в торце стилуса, а во второй на боковой грани вблизи торца:

Под объективом располагается система подвижных и неподвижных линз, обеспечивающая переменное фокусное расстояние (зум). Под системой располагается фотоматрица, а под ней контроллер. Кроме того, в некоторых схемах описан аккумулятор для питания компонентов. Предполагается, что пользователь сможет вынимать стилус из смартфона и делать снимок, после чего стилус будет передавать снимок на смартфон.

Обычно большинство патентов, получаемых компаниями, остаются не реализованными в виде реальных устройств. Однако стоит отметить, что представленная концепция не выглядит далекой от реализации, потому что в серийном смартфоне Samsung Galaxy Note 9 уже есть похожий стилус с управляющим микроконтроллером, поддержкой Bluetooth и аккумулятором, заряжаемым от смартфона.

Ранее Samsung не только патентовал но и реализовывал необычные оптические схемы в своих смартфонах. К примеру, в 2018 году компания представила смартфоны Galaxy S9, S9+ и Note, в которых основной модуль камеры оснащен механической диафрагмой с переменным относительным отверстием.

Коментарі — 0

Авторизуйтесь , щоб додавати коментарі
Іде завантаження...
Показати більше коментарів

Читайте також